-
贴在iPhone背面的AI录音机“Plaud Note”火了!
2024-07-22
iPhone不能电话录音,但是并不是不能从外部想办法,贴在iPhone背面的AI外设录音机就在海外火了。 国外众 [阅读详细]
-
2024-07-22
最近,“萝卜快跑”反复出现在微博热搜上,这就是因为最近武汉的萝卜快跑订单暴涨,更多的用户认识 [阅读详细]
-
2024-07-21
根据华为开发者官网的新消息,HarmonyOS NEXT Developer Beta2已经正式发布,该版本目前主要是面向开发者的 [阅读详细]
-
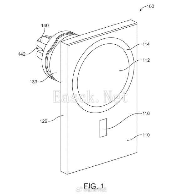
2024-07-20
根据美国商标和专利局(USPTO)的最新公示信息,苹果在7月16日获得了一项新的设计专利,疑似暗示苹果未来会推出 [阅读详细]
-
双模电竞,随心切换!ROG绝神27 Pro电竞显示器上市开售!
2024-07-19
近日,ROG玩家国度于BW2024嘉年华期间召开的新品发布会上,推出的双模电竞显示器ROG绝神27 Pro XG27UCG已经 [阅读详细]
游戏攻略
游戏开服

















































