当前位置:首页 > 资讯 > 科技智能 > 苹果新专利探索iPhone车用无线充电MagSafe支架!

苹果新专利探索iPhone车用无线充电MagSafe支架!

时间:2024-07-20 12:32:53 作者:易采游戏网整理来源:互联网我要评论

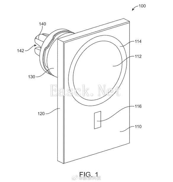
  根据美国商标和专利局(USPTO)的最新公示信息,苹果在7月16日获得了一项新的设计专利,疑似暗示苹果未来会推出支持无线充电的车用的MagSafe支架。

  根据专利中的信息描述,iPhone等电子设备已成为用户的日常携带物品,针对汽车驾驶场景,开发专门的支架,避免因急转弯或急刹车等情况下,导致iPhone移动、脱落等。

  苹果在专利中探索了固定iPhone的车用支架,可以固定在通风口盖、仪表板、中控台、杯座等汽车内饰上,并且支持MagSafe无线充电,可以给iPhone或者其它支持Qi标准的设备充电。

最新资讯