易采游戏网
关注微信
作者: 日期:2026-03-19 08:07:50
白荆回廊你好维瑟尔烙痕图鉴?你好维瑟尔是《白荆回廊》中的一张烙痕卡,那么它有什么效果,能够提供哪些加成呢?接下来就由小编给大家带来了详细的《白荆回廊》你好维瑟尔烙痕效果一览,希望这篇文章可以帮到大家!
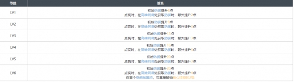
1.烙痕特质
2.漫巡技能
自动防御系统
正义守护
昂扬斗志方块β型
势如破竹对精英
大敌当前
生机蛊然方块β型
3.烙痕唤醒
以上就是小编整理带来的你好维瑟尔烙痕效果一览,更多相关游戏攻略,请关注手游网!
本文内容来源于互联网,如有侵权请联系删除。
《雷索纳斯》视角切换攻略
《白荆回廊》你好维瑟尔烙痕效果一览
《雷索纳斯》好感度提升攻略
《白荆回廊》藏锋烙痕效果一览
《白荆回廊》拂晓烙痕效果一览
《雷索纳斯》夏洛蒂无限剑制玩法技巧一览