易采游戏网
关注微信
作者: 日期:2026-03-19 08:01:45
白荆回廊世事难料烙痕有什么效果?世事难料是《白荆回廊》中的一张烙痕卡,那么它有什么效果,能够提供哪些加成呢?接下来就由小编给大家带来了详细的《白荆回廊》世事难料烙痕效果一览,希望这篇文章可以帮到大家!
1.烙痕特质
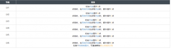
2.漫巡技能
黄金精神
职业联动方块
手执利兵方块
核心充能方块a型
饱和式救援
生机盎然方块β型
3.烙痕唤醒
以上就是小编整理带来的世事难料烙痕效果一览,更多相关游戏攻略,请关注手游网!
本文内容来源于互联网,如有侵权请联系删除。
《白荆回廊》世事难料烙痕效果一览
《白荆回廊》流星坠处烙痕效果一览
《白荆回廊》长谣角色技能一览
《雷索纳斯》ssr自选角色推荐
《白荆回廊》元桃桃角色强度一览
《雷索纳斯》新手阵容搭配推荐