易采游戏网
关注微信
作者: 日期:2026-03-19 07:40:28
白荆回廊你好,维瑟尔烙痕有什么效果?你好,维瑟尔是《白荆回廊》中的一张烙痕卡,那么你好维瑟尔烙痕卡有什么效果,能够提供哪些烙痕特质,漫巡技能和烙痕唤醒的加成呢?接下来就让我们一起了解一下你好,维瑟尔烙痕卡吧。
1.烙痕特质
2.漫巡技能
自动防御系统
正义守护
昂扬斗志方块β型
势如破竹对精英
大敌当前
生机蛊然方块β型
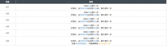
3.烙痕唤醒
以上就是小编整理带来的你好,维瑟尔烙痕图鉴,更多相关游戏攻略,请关注手游网!
本文内容来源于互联网,如有侵权请联系删除。
《白荆回廊》你好,维瑟尔烙痕图鉴
《白荆回廊》不期而遇烙痕图鉴一览
《白荆回廊》精准控分烙痕图鉴一览
《白荆回廊》「玄」学烙痕图鉴一览
《白荆回廊》海临人的好奇心烙痕图鉴一览
《白荆回廊》阳铃角色图鉴一览