AMD 探索多芯片粒设计 推动 RDNA 图形架构创新发展
AMD 最近获得批准的一项技术专利揭示了公司对“多芯粒”(multi-chiplet)GPU 设计的深入研究,预示着其下一代 RDNA 图形架构可能迎来重大革新。

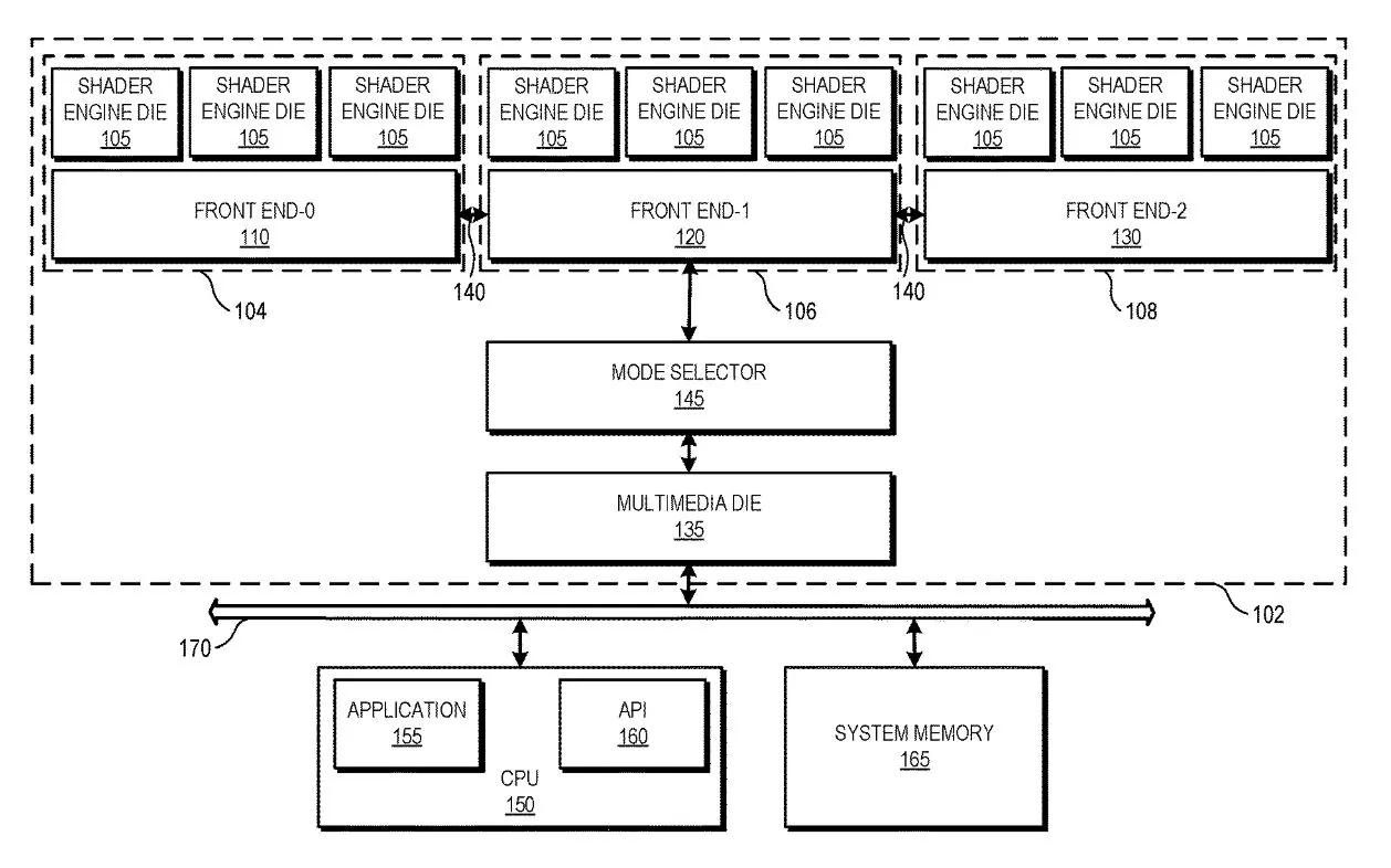
虽然“多芯粒模块”(MCM)的设计方法在业界并不新鲜,但随着单片设计的局限性逐渐显现,MCM 方案正变得越来越受欢迎。AMD 在此领域拥有丰富的经验,例如其Instinct MI200 AI加速器系列就采用了MCM设计,将多个图形处理单元(GPU)、HBM存储器堆栈和I/O芯片集成在一个封装中。此外,AMD在其最新的RDNA 3架构,如Navi 31上,也采用了MCM解决方案。

这项新专利详细阐述了三种不同的操作“模式”,每种模式都有其独特的资源分配和管理方式:
统一GPU模式:在这种模式下,所有的芯片作为一个统一的处理单元运行,共享资源并协同工作,类似于传统的GPU架构。
独立模式:每个芯粒在这种模式下独立操作,拥有自己的前端芯片,负责为其着色器引擎芯片分配任务,实现更高效的任务调度。
混合模式:结合了统一处理和独立处理的优势,芯粒可以根据需要独立运行或协同工作,这种模式提供了更高的灵活性和资源利用效率。

- 1和平精英
-
1
- 2香肠派对
-
2
- 3火龙复古
-
3
- 4暗黑破坏神2.7 重制版
-
4
- 5战场女神
-
5
- 6战神之决战西伯利亚
-
6
- 7黎明召唤
-
7
- 8超神之刃
-
8




三国:谋定天下
侠盗猎车手:罪恶都市
离火之境
幻唐志
辐射:避难所Online
王者荣耀














