当前位置:首页 > 资讯 > 科技智能 > 苹果手柄专利公开!检测手的位置 运动轨迹增强体验

苹果手柄专利公开!检测手的位置 运动轨迹增强体验

时间:2023-10-10 18:04:29 作者:易采游戏网整理来源:互联网我要评论

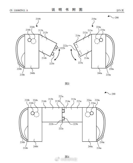
  根据企查查APP更新的专利信息,苹果公司的新专利被公开,苹果的新专利具有“可分离部分的控制器设备”。

  根据苹果的专利说明书显示,这项专利提供了一种可以与联网设备(诸如计算机、平板计算设备、视频流媒体播放器设备、头戴式设备、虚拟现实设备、增强现实设备和/或游戏设备)一起使用的控制器设备,操作方式可以包括按钮、操纵杆和/或触摸输入。使用者在一些应用之中的时候,会被检测用户的手的位置或运动以用于导航增强现实或虚拟现实编程,以及导航界面或游戏活动。

最新资讯